UL热线:13916126869咨询热线:021-67558777
法腾电力科技有限公司
智能云平台
当前位置: 首 页>> 新闻资讯>> 行业新闻>> 北美开关柜材料及表面处理要求

北美开关柜材料及表面处理要求

发布日期:2025-11-14 作者:法腾电力 点击:

越来越多的厂家开始做北美开关柜市场,然而对于绝缘材料的要求却很少有人关注,经验证明,国内多数绝缘件厂家的材料是不符合要求,如耐电痕时间,需要大于等于300分钟,即5个小时,国内材料基本只能持续几分钟,相去甚远。
这也就说明美标开关柜可靠,当然价格也高,厂家要想满足要求必须调整配方,改善性能,成本比普通使用的环氧树脂价格要高,加之国内不讲究这些要求,因此用量少,进一步提高了产品成本,因此对于想进入美标市场的供应商,需要集中精力,搞好材料,提高性能,降低成本。
IEEE C37.20.2是美国金属铠装开关柜的标准;
IEEE C37.20.3是美国金属封闭开关柜的标准;
IEEE C37.20.90是美国气体绝缘开关柜的标准;
上述标准对产品的具体要求不同,但是对于材料的要求是一样的;
第6.2.7条,绝缘材料测试有以下规定:


一. 硬性板、模制或铸造绝缘材料制造的绝缘件,包括充气柜套管等

如绝缘子、一次触头盒、穿墙套管材料试验要求如下:


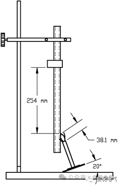
6.2.7.1阻燃测试-ASTM D229方法II


  1. 燃烧试验样片尺寸13±0.8mm正方形截面,长度254±1.6mm;

  2.  试验采用5个样片,取平均开始燃烧时间;

  3.  试验温度860±5OC,调整电阻丝电流保持温度在±5OC;

  4. 判定标准:最小平均点燃时间为60s,平均燃烧时间最大为500s;


6.2.7.2耐电痕试验–按照美标IEEE C37.20.2金属铠装开关柜标准6.2.7.2 耐电痕试验,试验结果应符合ASTM D2303 条件A情况下的要求,

  1. 额定最大电压为4.76 kV及以下的开关设备组件。材料厚度为6.4毫米(0.25英寸)的样本施加2500 V,电痕到达25毫米(1英寸)标记的时间电压≥20分钟。

  2. 额定最大电压为8.25 kV及更高的开关柜组件。材料厚度为6.4毫米(0.25英寸)的样本施加电压2500V,电痕到达25毫米(1英寸)标记的时间≥300分钟。


二. 用作第1类屏障的片状或铸造绝缘材料-相间绝缘屏蔽、母线接头绝缘-硅橡胶套、防尘套等均需通过抗燃性UL 94 V0级


三. 对于母线环氧硫化涂覆

   C37.20.2标准规定开关柜不允许有裸露母排,必须使用环氧树脂硫化工艺涂敷。并通过

按照6.2.7.1.4 C37.20.2进行的火焰测试证明阻燃性能;

   样品:直径约19毫米,长56厘米的铜棒覆盖层厚度约为1.5毫米至3.2毫米;

   该测试应在通风良好的房间内进行,试样的一端约56厘米(22英寸)长度应在腔室的上端夹紧。纸质指示器下边缘比测试内部蓝色火焰的点高25厘米(10英寸)

   指示器应绕样品一周并对导体侧涂胶固定;

   如果在五次施加火焰后超过25%的指示器延伸部分被点燃,则认为样品已传递火焰。记录第五次燃烧样品的持续时间,任何样品持续燃烧超过1分钟则被认为未通过该测试。


IEEEC37.20.2- 6.2.8涂层鉴定测试;

四. 表面静电粉末喷塑


  • 不使用敷铝锌板,侧板及门板、盖板等都需要静电粉末喷涂

  • 需通过ASTMB117-90 600小时盐雾测试;

  • 试验样品规格7.6 cm × 15 cm (3 in × 6 in);

  • 然后应根据额定值按ASTM D1654-92中的表1对划痕后的标本的划痕进行评估。

美标对开关柜的绝缘材料、表面处理等要求相比GB/IEC标准要高,因此才有使用了50年的开关柜还在运行。


来源:网络 版权归原作者


本文网址:https://www.shfateng.com/news/1763083171.html

相关新闻:

网站地图 | 主营区域: 北京   安徽   广西   河北   湖北   湖南   山东   上海   天津   重庆
Copyright © 法腾电力科技有限公司All rights reserved. 沪ICP备2021017219号-2

遇到问题?请给我们留言

请填写您的真实手机号码,我们将尽快回复您